Apple sẽ chuẩn bị gia nhập cuộc đua smartphone màn hình gập với sản phẩm iPhone gập riêng mang thương hiệu nhà Táo.
Theo báo cáo mới nhất từ Apple Insider, dựa trên đơn xin cấp bằng sáng chế mới của Apple, chiếc iPhone gập sắp tới của hãng có thể đi kèm với màn hình có khả năng tự phục hồi những hao mòn thông thường, bao gồm cả vết xước và vết lõm.
Đơn xin cấp bằng sáng chế, có tên “Thiết bị điện tử có lớp che màn hình linh hoạt” đề xuất các phương pháp giảm thiểu thiệt hại và cách khắc phục. Quá trình này có thể diễn ra nhờ vào các tác động từ môi trường bên ngoài như nhiệt, ánh sáng, dòng điện… Tuy nhiên, công ty vẫn chưa đề cập đến quá trình tự phục hồi này sẽ hoạt động như thế nào.
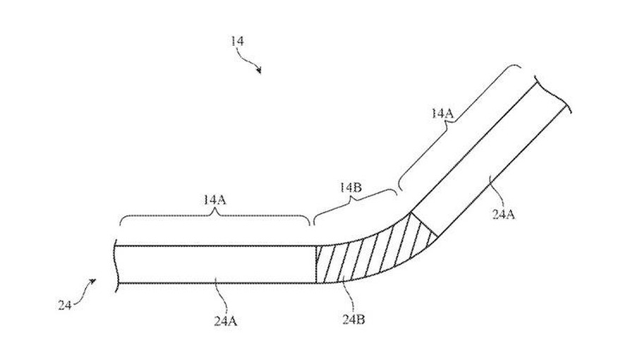
Dựa vào hình ảnh có thể thấy màn hình mang cấu trúc ba phần bao gồm hai tấm nền thông thường, một màn hình cố định và một cơ chế xoay.
Các nguồn tin trước đó cho biết, iPhone màn hình gập sẽ mang thiết kế đó là khi mở ra, hai màn hình sẽ trở nên liền mạch như một.
Trước đó, bằng chứng đến từ nhà rò rỉ Ice Universe cho biết, Apple đang đàm phán với Samsung Display về các mẫu màn hình gập và lên kế hoạch đặt mua số lượng lớn công nghệ màn hình gập từ Samsung.
Theo Gizmochina

 
				
							

 
                     
                     
					 
					 
					 
					